
22. Merev test egyensúlya
22. Merev test egyensúlya

Kép forrása: FIZIKA 9-10. OH-FIZ910TB_I 82. old
Merev testek egyensúlyának általános feltétele
akkor van egyensúlyban, ha az eredő erő nulla: ∑F=0
→ nyugalom vagy egyenes vonalú egyenletes mozgás.
akkor van egyensúlyban, ha a forgatónyomatékok összege nulla: ∑M=0
→állandó szögsebességgel forog vagy nyugalomban van.
esetén mindkét feltételnek teljesülnie kell : ∑F=0 és ∑M=0
A tömegközéppont
A tömegközéppont az a pont, ahol a test tömege úgy viselkedik, mintha ott összpontosulna.
A merev testet sok apró tömegpontként képzelve, ezekre ható párhuzamos nehézségi erők eredője ebben a pontban támad.
Ha a test homogén és szimmetrikus, akkor a tömegközéppontja a geometriai középpontban található.
Ez a pont kulcsfontosságú a mozgás és az egyensúly vizsgálatánál.
Egyensúlyi helyzetek
Ha egy testet kissé kibillentünk egyensúlyi helyzetéből, viselkedése alapján háromféle egyensúly létezik:
Stabilis (biztos): a test visszatér eredeti helyzetébe → pl. golyó homorú felületen
Labilis (bizonytalan): a test még távolabb kerül → pl. golyó domború felületen
Indifferens (közömbös): a test új helyzetében marad → pl. golyó sík felületen
Merev testek egyensúlyának általános feltétele
Feladatok
https://kemfiz.hu/fizika_kozep_dinamika.html
(4, 6, 27, 32, 43, 52, 56, 60, 62, 64, 87, 102, 105)
4. A csomag az emelés ellenére nem mozdul. Mekkora az eredő erő?
B) Eredő erő: 0 N (azaz nulla newton)
Ha a csomag az emelés ellenére nem mozdul, az azt jelenti, hogy az összes rá ható erő kiegyenlíti egymást. Ez a klasszikus egyensúlyi állapot, amikor a test vagy nyugalomban van, vagy egyenletes mozgást végez.
6. Mozgócsiga egyensúlyban tartása (G = 200 N)

B) 100 N
Indoklás: Mozgócsiga esetén a kötél két szára tartja a testet, így fele akkora erő is elegendő.
27. Két testet akasztunk egy csigákon átvetett kötélre az ábrán látható módon, és elengedjük őket. Tudjuk, hogy a nagyobbik test nehezebb, mint a kisebb. Mi fog történni?

A) A nagyobbik test felhúzza a kisebbiket.
Indoklás: Ha nincs súrlódás és a nagyobb test nehezebb, akkor az egyensúly megbomlik → mozgás indul.
32. Kötél és csiga felfüggesztés

C) Ugyanakkora lesz a kötélerő mindkét esetben.
Indoklás: Mindkét esetben a test súlyát tartja a kötél → kötélerő = mg.
43. Súlyos lánc két végén testek 0,5 kg-os lánc két végén 1–1 kg-os test. Súrl.mentes csigán átvetve. Mi történik magára hagyva?

A) A lejjebb lévő test lefelé gyorsul, a feljebb lévő felfelé.
Indoklás: A rendszer nem egyensúlyban van, a nehezebb test lefelé indul.
52. Lámpa felfüggesztése három módon Háromféle csigarendszerrel függesztünk fel egy lámpát ellensúllyal. Melyikhez kell a legkisebb tömegű ellensúly az egyensúlyhoz?

C) A harmadik esetben.
Indoklás: A csigarendszer hatékonyabb → kisebb ellensúly is elegendő az egyensúlyhoz. Az ellensúly azért hatékony, mert csökkenti az emeléshez szükséges erőt.
62. Két tégla tömegközéppontja
Helyes válasz: B) 1,5-szer
Indoklás: A téglák magassága legyen h
Alsó tégla tömegközéppontja h/2=0,5 * h
Felső tégla tömegközéppontja: 3h/2=1,5 * h
Rendszer tömegközéppontja (átlag): h
A felső tégla tömegközéppontja tehát 1,5*h, ami 1,5-szerese a rendszer tömegközéppontjának.
64. Medvék elleni csomagfelhúzás

Helyes válasz: A) Egyre nő.
Indoklás: Ahogy a csomag emelkedik, a kötél egyre vízszintesebb lesz. Minél vízszintesebb a kötél, annál nagyobb erő szükséges a csomag megtartásához, mert a kötél feszítőerejének függőleges összetevője csökken. Ezért az ember által kifejtett erő egyre nagyobb lesz.
87. Hegymászó saját magát húzza

C) Nem tudja magát így felhúzni.
Indoklás: A rendszer belső erői nem változtatják meg az egyensúlyt → külső erő kell.
102. Mekkora F erővel lehet a G súlyú testet egyensúlyban tartani az ábrán látható csigarendszerben?
A) F = G/2
Indoklás: Két kötélszár tartja a testet → fele akkora erő is elegendő.
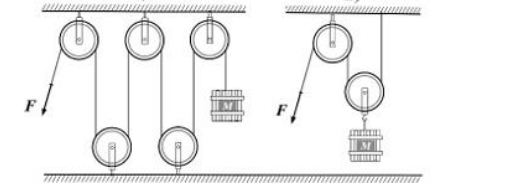
105. Kétféle csigarendszer M tömegű terhet kétféle csigarendszerrel emelünk. Melyiknél kell kisebb F erő?

A) Az A) esetben, mert ott több csigát használtunk fel.
Indoklás:A szükséges erőt a mechanikai előny határozza meg: F=G/n, ahol n a teherágak száma.
